SAMSUNG 在穿戴式裝置從內嵌相機功能的 Gear 到彎曲螢幕 Gear Fit 都受到不少朋友的支持與看好,而稍早國外媒體也公佈 SAMSUNG 於美國專利局所申請的新專利透露,未來新一代的 SamrtWatch 也許將會具備手勢操作功能!
這款新的 SmartWatch 設計方面可以看出一改先前幾代方正外形,採用與 Moto 360 有點相似的圓形錶面。基本功能方面則是同樣具備著天氣顯示、心跳偵測、圖像辨識、掃瞄 QR Code等。

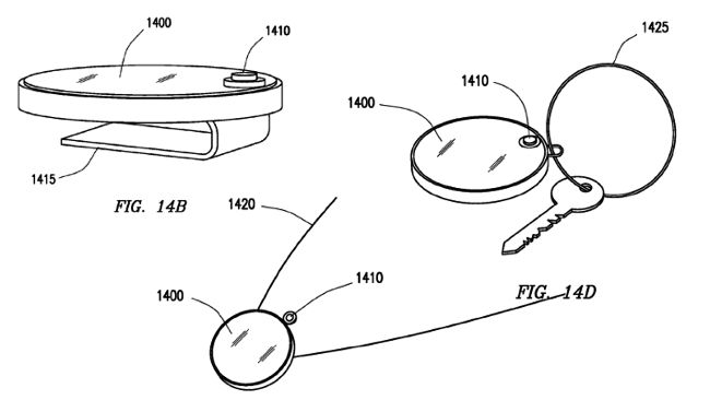
而圓形錶面似乎可拆卸自行搭配成為鑰匙圈、項鏈等其他穿戴方式。

不過最令人期待還是那看起來像是新增的手勢操作功能。從這專利申請圖可以看出新一代智慧型手錶似乎是透過錶帶上的相機,來當成偵測器來與電視螢幕做配對配合操作,也許可以當作是新的 SAMSUNG 電視遙控器?

雖然還只是在專利申請的階段,但相信目前積極投入各消費型電子產品領域的 SAMSUNG 來說,新一代智慧型手錶的上市應該也不會太遠了!而各大品牌都陸續發展出自家特色的智慧型穿戴裝置時,遲遲沒有動作卻讓人期待的 Apple 與 HTC 不知道會在哪時也推出讓人眼睛為之一亮的穿戴式裝置呢?
[Source]
如果喜歡這篇文章,也請幫「點子生活粉絲團」按個讚給我們支持吧!
更多好文推薦
Samsung Gear Fit 融合時尚風格 健身功能與便利性





