Sony PS VITA 自 2011 年 12 月推出至今已經過 5 個年頭了,從最初期的 PCH-1000,到後期的 PCH-2000,低迷的市佔率,也使得 Sony 在掌機領域中走的非常辛苦。不過,Sony 似乎沒有因為這幾年的低迷市佔率而放棄掌機市場,據傳 Sony 為了不讓對手的掌機專美於前,已在前陣子遞交了新一代 PS VITA 的設計原稿,並在近期通過專利審核。而這樣的消息曝光後,不僅正式曝光了 PS VITA 將有後續機種的消息,同時也宣告電玩掌機大戰正式開打。

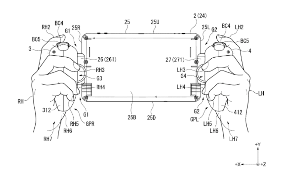
根據國外媒體報導指出,Sony 在前陣子送出的最新型掌機設計圖,已在近期通過專利審核。從曝光的專利圖片來看,Sony 似乎打算推出類似 Nintendo Switch 的掌機,來取代舊有的 PS VITA。而這台新型掌機除了非常大面積的顯示螢幕外,左右兩側的手把同樣配有傳統的四向鍵、兩個左右獨立的搖桿以及四個控制鍵。此外,左右手把的後方還多了兩個類似轉盤的控制器,是否支援更多不同的操作功能,則有待發表後才能確認。

由於 PS VITA 一直沒有具有獨特性的大作加持,因此,不管是在台灣還是其他國家,市佔率都遠低於 Nintendo 推出的 3DS。而新一代的電玩掌機大戰也在 Nintendo 推出 Switch 後宣告開打,Sony 是否能靠這台新一代掌機挽回掌機市場低迷的市佔率,有待上市後市場的反應以及遊戲開發商的支持才能確認。




