年初,任天堂(Nintendo)的法國總經理 Philippe Lavoué 接受科技網站的採訪,表示任天堂在無法提供完整方案前,不會盲目追求 4K 和虛擬實境(VR)。

近日,推特上有位老兄利用空閒時間,編寫自製的程序時,偶然發現 Switch 系統中跳出一個選項,表明任天堂正在測試 VR 模式,當進入 VR 模式後,螢幕分割成2個畫面,確認這就是 VR 畫面,隨即系統自動關閉該模式。
https://t.co/wSPNcuuGVa
So I just tried and a screen appeared. Interesting… pic.twitter.com/MLiKfYpokb— random (@random666_kys) August 8, 2018
任天堂嘗試 VR 的謠言在去年就開始蔓延,2017年有位推特用戶發布了 Switch 3.0.0 更新期間添加的系統代碼,在第50、51行代碼中,可以使用 VR 模式,儘管無法在主機上使用,而任天堂似乎沒有打算進行修改。
Just found this while looking at IPC interfaces on the Switch. Iiiiinteresting! #reswitched pic.twitter.com/J3QoKrJWKN
— Cody Brocious (@daeken) August 27, 2017
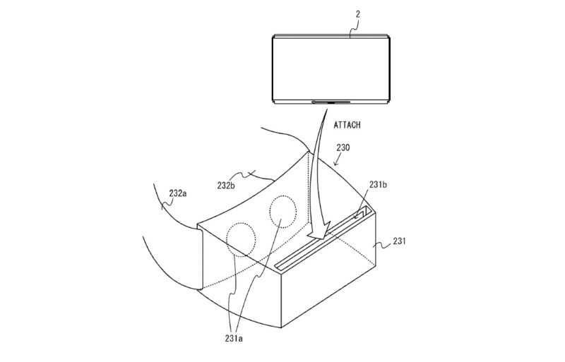
當我們將時間拉回2016年,任天堂在美國的一份專利曝光,內容顯示類似 Switch 的主機放進一個頭戴裝置裡,成為 VR 裝置。當時任天堂的說法是,第一代 Switch 的重心將不會在 VR 上,由此可知,以上網友發現的秘密,可能是任天堂將為第二代 Swtich 添加的功能。

(筆者短語:任天堂曾明示在找到可靠的方案前,不會強行讓玩家遊玩,我們不確定任天堂是否找到最佳的遊玩方式,但依照現在主機的壽命預估,三年內可能不會有第二代 Switch,依照現在任天堂的氣勢,加強版明年才有可能上市。)




