份專利。

圖片來源:蘋果
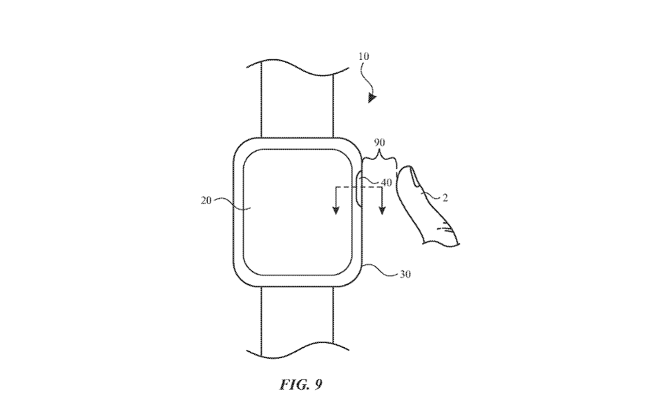
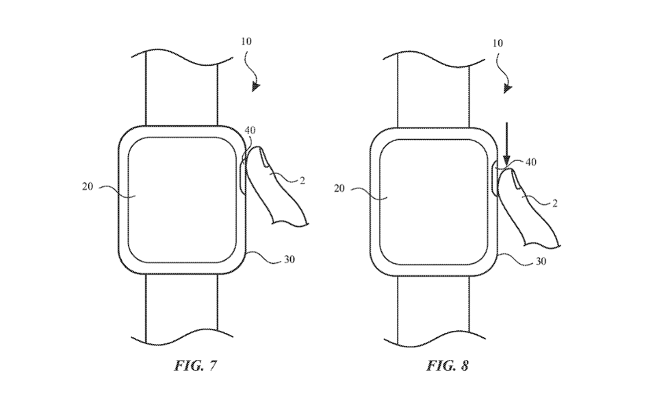
《Forbes》引用蘋果新專利顯示,團隊正在考慮「真正意義上的數位錶冠」(Digital Crown),是一種藉由光學感測器取代數位錶冠的技術,專利說道:「該零組件採用光學感測器來接受用戶的輸入。輸入組件提供用戶與手錶之間的互動能力。」
沒錯,就在手機廠商追求智慧型手機一體化的同時,智慧手錶可能也無一倖免。
延伸閱讀:《難用的虛擬案件將成為趨勢?手機製造商追求一體化的現在與未來》

圖片來源:蘋果
為什麼蘋果想要「除掉」數位錶冠呢?答案與手機一體化的理由相差無幾。專利提到「透過輸入零組件的光學系統來檢測用戶的動作與手勢,從而減少活動部件(moving part)的數量來為手錶內部空間做更有效的利用。」
簡言之,蘋果將數位錶冠的空間省下,能夠為 Apple Watch 加入更多有用的功能,例如更大的電池、更多的感測器。
但仍要強調的是,科技公司的專利往往石沉大海,今年將登場的Apple Watch Series 6 外觀或許也不會有任何改變。依照過往迭代路徑,Apple Watch Series 6 不外乎具備新的軟體版本、更強的處理器、更好的防水能力,以及《彭博社》曾透露卻未在去年出現的睡眠追蹤功能也有可能在今年現身。
消息來源:Forbes、Business Insider

