SayDigi | 點子科技生活
  • 首頁
  • 點子科技
    • 智慧手機
    • 平板筆電電腦
    • 生活家電
    • 智慧穿戴
    • 耳機音響
    • 攝影器材
    • 周邊配件
    • 展場速報
    • 新奇產品
    • 科技回顧
    • 科技速報
    • 網路快訊
    • 科技學堂
    • 軟體遊戲
    • 電信資費
    • 親子科技
  • 智慧駕駛
  • 資安百科
  • 點子生活
    • 好健康
    • 好好吃
    • 好好玩
    • 運動生活
    • 流行指標
  • 生活好點子
    • 財經投資
    • 親子家庭兩性
    • 好有趣
    • 好藝文
  • 聯絡我們
LG PuriCare 360 vs Dyson BP04

LG PuriCare 360 vs Dyson BP04

三台熱門機種真實大對決:LG Puricare 360 單層寵物版、LG Puricare 360 雙層寵物版、Dyson BP04 結果是否跟你想得一樣?

Galaxy Z TriFold 三摺螢幕來了

Galaxy Z TriFold 三摺螢幕來了

吉卜力公園、熱田神宮、鶴舞公園

吉卜力公園、熱田神宮、鶴舞公園

岐阜奧飛驒溫泉鄉

岐阜奧飛驒溫泉鄉

POCO F8 系列登場

POCO F8 系列登場

Scroll for more
Tap

點子專區









其他

黑莓機「再次」告別手機市場

高伯任2020/02/04
Read More
好好吃

【桃園八德美食】鐵炭魂-桐板饌酌食店.健康路線、銅板價格,融合台、日、韓、港多元料理的創意美食!

大口2020/02/04
Read More
其他

口罩新制 2/6 上路 《全台健保藥局地圖》查詢哪裡可以買!

Candice2020/02/04
Read More
好好玩

[ 台中住宿推薦 ] 芭蕾城市渡假旅店 / 超夢幻獨角獸親子房型 / Villa主題房型寬敞又有特色

小佳2020/02/04
Read More
好好吃

桃園採草莓懶人包 ~ 桃園有機草莓園 / 桃園賣草莓diy農場 / 北部採草莓景點(2020彙整更新)

Darren蘋果樹2020/02/04
Read More
好好玩

澳門自由行 新濠影滙 VR 娛樂主題樂園 傳奇英雄科技城 虛擬實景VR、擴增實境AR、全息演唱會當迷妹

Daphne2020/02/03
Read More
其他

臺灣機車市場一月報告出爐:補助縮水仍是電動機車的軟肋、武肺影響有待觀察

高伯任2020/02/03
Read More
好好玩

屬龍的今年適合到加拿大玩?12 生肖開運旅遊地公開

Kisplay2020/02/03
Read More
其他

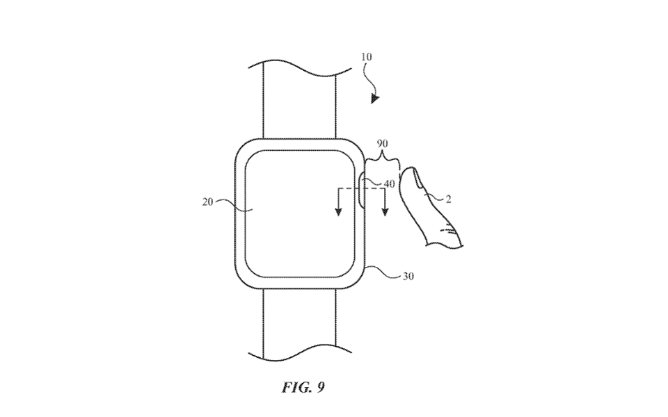
Apple Watch 6 外觀迎來重大突破?蘋果新專利暗示實體錶冠命在旦夕

高伯任2020/02/03
Read More
Page 1334 of 4041« First‹ Previous133013311332133313341335133613371338Next ›Last »
SayDigi | 點子科技生活
一起用好點子過好生活吧!